The function of a server session pool in AFS
This topic summarizes the function of a server session pool.
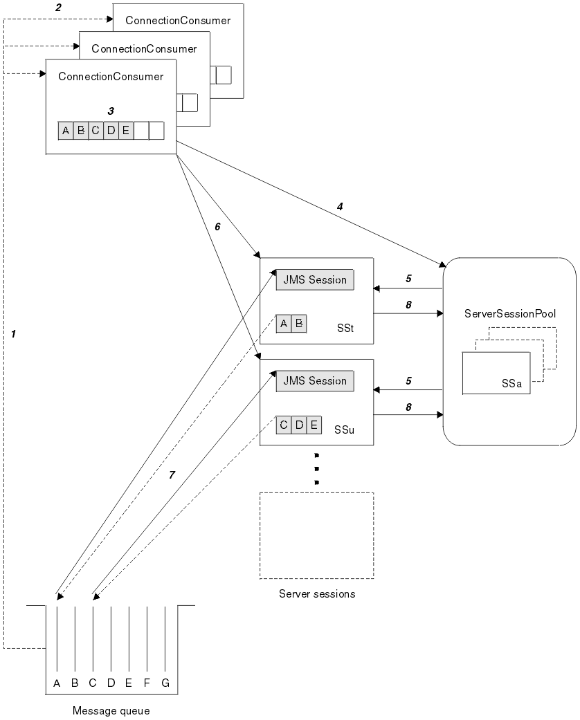
Figure 1 summarizes the principles of ServerSessionPool and ServerSession functionality.

- The ConnectionConsumers get message references from the queue.
- Each ConnectionConsumer selects specific message references.
- The ConnectionConsumer buffer holds the selected message references.
- The ConnectionConsumer requests one or more ServerSessions from the ServerSessionPool.
- ServerSessions are allocated from the ServerSessionPool.
- The ConnectionConsumer assigns message references to the ServerSessions and starts the ServerSession threads running.
- Each ServerSession retrieves its referenced messages from the queue. It passes them to the onMessage method from the MessageListener that is associated with the JMS Session.
- After it completes its processing, the ServerSession is returned to the pool.
An application server normally supplies ServerSessionPool and ServerSession functionality.
Parent topic: IBM MQ classes for JMS Application Server Facilities